|
|
|
|
|
|
|
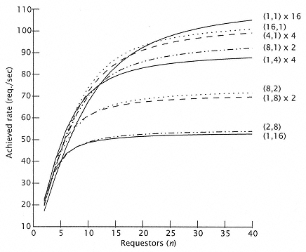
Figure 9.38
Achieved request-server rate for workload 2. |
|
|
|
|
|
|
|
|
This lsys is plotted against n, the number of requestors for each workload in Figures 9.37 and 9.38. The superiority of (16,1) is largely due to our assumption about the effective number of servers. We assumed that the effective number of disk clusters was the square root of the number of physical clusters, but that concurrency within a (striped) cluster would be achieved (i.e., requests within a cluster would be uniformly distributed). A different assumption would clearly lead to different results. |
|
|
|
|
|
|
|
|
In fact, one of the more interesting conclusions that can be drawn from the preceding is that array results depend heavily on user request behavior. They do not depend much on workload (access lengths) but on the way requests occur to physical servers and clusters. |
|
|
|
|
|
|
|
|
9.6 Some Practical Considerations in the Design of Disk Systems |
|
|
|
|
|
|
|
|
In this section, we discuss issues such as the useful design limits and practical considerations in the design and modeling of various ensembles of disks. |
|
|
|
|
|
|
|
|
Our finite population model is based on the M/M/l queue, where c2 = 1. When n is small, it is probably appropriate to assume a relatively higher coefficient of variance. As n grows, the asymptotic model with a specified c2 is preferred. If the file distribution and disk parameters are known, it is |
|
|
|
|
|