< previous page page_640 next page >

Page 640
0640-01.gif
Figure 9.28
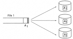
Disk ensemble of independent drives. Each file
is assigned to a single device.
0640-02.gif
Figure 9.29
Distributing a file over multiple (three) disks.
This technique, called file striping, assigns
consecutive blocks of a single file to multiple
drives.
0640-03.gif
Figure 9.30
Disk synchronization (ds). Multiple drives are
synchronized. Files are distributed by the byte on
the drive, so that n drives read or write n bytes
of a file simultaneously.

 
< previous page page_640 next page >